外围现金星空官网

迅捷机械携手旗下东泰机械,打造专业包装机械工厂!




输送带式真空充气包装机

2014-3-22 9:22:53 []

    输送带式真空充气包装机台式真空充气包装机的主要区别在于:采用链带步进送料进入真空室;室盖自动闭合开启。其自动化程度和生产率均大大提高。当然,与台式一样,它同样需要人工排放包装袋,并合理地将包装袋排列在热封条的有效长度内,以便于顺利实现真空及亢气封合。

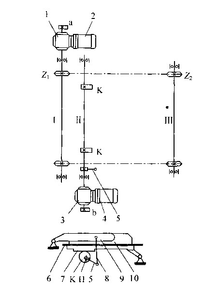
    下图输送带式真空充气包装机的外形图,它主要由输送带、真空室盖、机体、传动系统、真空充气系统、水冷与水洗系统以及电气系统组成。整台机体的操作面可按需要倾斜布置。以适应粘液、半流体、粉料等物品的包装。

输送带式真空充气包装机平面图

    输送系统是输送带式真空充气包装机的主体部分,如图所示,输送系统主要由输送带构成,输送带一般由耐磨夹橡胶制造,采用分段装配的形式,相互间以铰链联接。每一段输送带构成一个包装工位,如图示有5段输送带,即此机有5个包装工位供循环使用。每段输送带上装配有相同的构件,分别为包装袋承托调整装置、袋口夹持充气装置等。

    包装袋承托调整装旨如图中所示,直角形托板用于承托包装袋的尾部,根据包装袋的长度可调整托板与封合胶座之间的距离。由图示可见,托板的下边开有长缝形缺口,在长度方向上左右各一条,分别穿过一条塑料导向条。当按动
压块的上部,压缩弹簧,压块将统销铀13顺时针转动,解除对导向条lI的压合,于是可以顺利前后移动托板。当松开压块时,在弹簧力的作用下,压块将导向条压紧在托板上,使托板难以沿导向条滑动。

    包装袋口由压杆夹持在封合胶座处,此机的热封部件装在室盖上,当室盖合上时,热封部件刚好与封合胶座对应。需要充气时,可利用充气管座上的充气管嘴进行。

相关产品1.包装机械设备

2.双室真空包装机

3.装箱机